Adequada para bombeamento para evacuação, transferência e esvaziamento de águas residuais com sólidos em suspensão; aplicações como esvaziamento de garagens ou caves inundadas, poços, fossas residenciais, depósitos de água ou transferência de água de depósitos e cisternas.
Características:
- Fator de serviço: S1
- Grau de proteção: IPX8
- Isolamento elétrico: Classe F
- Reativação: automático
- Tipo de motor: assíncrono
- Arrefecimento do motor: água
|
- Corpo:
- Aspiração: ferro fundido
- Descarga: ferro fundido
- Envolvente: aço inoxidável AISI 304
- Eixo da bomba: aço inoxidável AISI 420
- Impulsor(es): tecno polímero reforçado com aço
- Juntas: NBR/EPDM
- Vedante mecânico: alumina grafite
|
- Diâmetro descarga: 1 1/4"
- Estanqueidade: vedante mecânico
- Tipo de ligação: rosca
- Temperatura do líquido (ºC): máx. 40
- Imersão máxima: 7m
- Caudal até 150 l/min
|
|
 |
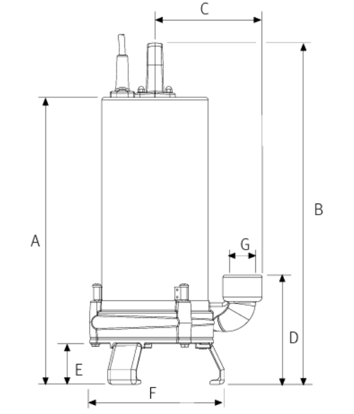
Dimensões e pesos:
| Modelo |
A |
B |
C |
D |
E |
F |
G |
KG |
| Vigicor |
396 |
471 |
148 |
151 |
57 |
191 |
1 1/4" |
15.5 |
Tabela de funcionamento hidráulico
| Modelo |
I (A) |
P1 (kW) |
P2 |
C (µF) |
l/min |
15 |
30 |
50 |
65 |
80 |
100 |
115 |
135 |
| 1~230V |
1~ |
kW |
HP |
m3/h |
0.9 |
1.8 |
3.0 |
3.2 |
4.8 |
6.0 |
6.9 |
8.1 |
| Vigicor |
5.4 |
1.2 |
0.9 |
1.2 |
16 |
MCA |
21 |
19.1 |
17.1 |
15.5 |
14 |
11.4 |
9.4 |
6.5 |
|
Mais informações na ficha técnica do produto | Preços apenas sob consulta
Ficha técnica Esquema Certificado ESPA ISO9001 ESPA Certificado ISO 14.001