Adequada para bombeamentos de evacuação, transferência e esvaziamento de águas residuais e piscinas; aplicações como garagens ou caves inundadas, poços, fossas residenciais, depósitos de água ou transferência de água de depósitos e cisternas.
Características:
- Fator de serviço: S1
- Grau de proteção: IPX8
- Isolamento elétrico: Classe F
- Reativação: automático
- Tipo de motor: assíncrono
- Arrefecimento do motor: água
|
- Corpo:
- Aspiração: tecno polímero
- Descarga: tecno polímero
- Envolvente: tecno polímero
- Eixo da bomba: aço inoxidável AISI 420
- Impulsor(es): tecno polímero
- Juntas: NBR/EPDM
|
- Diâmetro descarga: 32mm
- Estanqueidade: retentor duplo
- Tipo de ligação: união de mangueira
- Temperatura do líquido (ºC): máx. 40
- Passagem máx. de sólidos: 10mm
- Imersão máxima: 2m
- Caudal até 260 l/min
|
|
 |
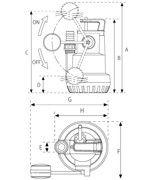
Dimensões e pesos:
| Modelo |
A |
B |
C |
D |
E |
F |
G |
H |
KG |
| Vigila 200 |
392 |
320 |
353 |
72 |
1 1/4" |
214 |
291 |
201 |
4.5 |
| Vigila 350 |
444 |
372 |
405 |
124 |
6.7 |
| Vigila 500 |
7.1 |
Tabela de funcionamento hidráulico
| Modelo |
I (A) |
P1 (kW) |
P2 |
C (µF) |
l/min |
20 |
40 |
80 |
120 |
160 |
200 |
240 |
260 |
| 1~230V |
1~ |
kW |
HP |
m3/h |
1.2 |
2.4 |
4.8 |
7.2 |
9.6 |
12 |
14.4 |
15.6 |
| Vigila 200 |
1.8 |
0.38 |
0.25 |
0.33 |
8 |
MCA |
5.6 |
5.3 |
4.5 |
2.8 |
|
|
|
|
| Vigila 350 |
2.7 |
0.55 |
0.5 |
0.7 |
10 |
7.2 |
7 |
6.5 |
5.5 |
4 |
2 |
|
|
| Vigila 500 |
3.7 |
0.85 |
0.6 |
0.8 |
10.4 |
10 |
9 |
8 |
6.8 |
5 |
3 |
1.8 |
|
Mais informações na ficha técnica do produto | Preços apenas sob consulta
Ficha técnica Esquema Certificado ESPA ISO9001 ESPA Certificado ISO 14.001