Adequada para bombeamentos de evacuação, transferência e esvaziamento de águas residuais e piscinas; aplicações como garagens ou caves inundadas, poços, fossas residenciais, depósitos de água ou transferência de água de depósitos e cisternas.
Características:
- Fator de serviço: S1
- Grau de proteção: IPX8
- Isolamento elétrico: Classe F
- Reativação: automático
- Tipo de motor: assíncrono
- Arrefecimento do motor: água
|
- Corpo:
- Aspiração: tecno polímero
- Descarga: tecno polímero
- Envolvente: tecno polímero
- Eixo da bomba: aço inoxidável AISI 420
- Impulsor(es): tecno polímero
- Juntas: NBR/EPDM
- Modelo H com peças internas em AISI 316.
|
- Diâmetro descarga: 32mm
- Estanqueidade: retentor duplo
- Tipo de ligação: união de mangueira
- Temperatura do líquido (ºC): máx. 40
- Passagem máx. de sólidos: 25mm
- Imersão máxima: 4m
- Caudal até 240 l/min
|
|
 |
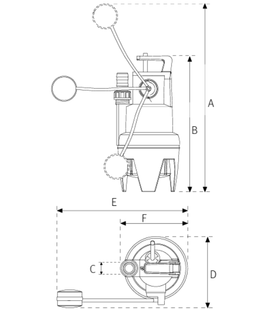
Dimensões e pesos:
| Modelo |
A |
B |
C |
D |
E |
F |
G |
H |
KG |
| Vigilex 300 |
380 |
362 |
1 1/4" |
214 |
410 |
204 |
410 |
201 |
4.5 |
| Vigilex 600 |
6.7 |
Tabela de funcionamento hidráulico
| Modelo |
I (A) |
P1 (kW) |
P2 |
C (µF) |
l/min |
25 |
50 |
75 |
100 |
125 |
150 |
190 |
240 |
| 1~230V |
1~ |
kW |
HP |
m3/h |
1.5 |
3.0 |
4.5 |
6.0 |
7.5 |
9.0 |
11.4 |
14.4 |
| Vigilex 300 |
2.5 |
0.6 |
0.5 |
0.7 |
10 |
MCA |
5.7 |
5.2 |
4.6 |
3.8 |
3.2 |
2.3 |
1 |
|
| Vigilex 600 |
3.3 |
0.8 |
0.6 |
0.8 |
7.5 |
7 |
6.3 |
5.6 |
5 |
4.3 |
3 |
1 |
|
Mais informações na ficha técnica do produto | Preços apenas sob consulta
Ficha técnica Esquema Certificado ESPA ISO9001 ESPA Certificado ISO 14.001